差壓式孔板流量計
產品簡介
差壓式孔板流量計又稱為差壓式流量計,是由一次檢測件(節流件)和二次裝置(差壓變送器和流量顯示儀)組成,**應用于氣體、蒸汽和液體的流量測量。具有結構簡單,維修方便,性能穩定,使用可靠等特點。 孔板節流裝置是標準節流件可不需標定直接依照國家標準生產,1.國家標準GB2624-81‹流量測量節流裝置的設計安裝和使用;2.國際標準ISO5167‹國際標準組織規定的各種節流裝置;3.化工部標準GJ516-87-HK06。
產品特點
●結構簡單、牢固,性能穩定可靠,使用期限長,價格低廉;
●應用范圍廣,全部單相流皆可測量,部分混相流亦可應用;
●標準型節流裝置無須實流校準,即可投用;
● 一體型孔板流量計安裝更簡單,無須引壓管,可直接接差壓變送器和壓力變送器;
●采用進口單晶硅智能差壓傳感器;
●高精度,完善的自診斷功能;
●其量程可自編程調整;
●可同時顯示累計流量、瞬時流量、壓力、溫度;
●具有在線、動態全補償功能外,智能孔板流量計還具有自診斷、自行設定量程;
●配有多種通訊接口;
●量程范圍寬、大于10:1。
技術參數
一、用途、特點及使用范圍
1、用途:節流式差壓流量計由三部分組成:節流裝置、差壓變送器和流量積算儀。節流裝置是直接安裝于管道上的一次元件,差壓變送器和積算儀屬于二次元件。它主要用于流經管道各種氣體(純凈的或含粉塵的)、蒸汽(飽和或過熱)和液體(導電或不導電;強腐蝕性;粘稠或含有微小顆粒臟污)流量。可直接測量體積流量或質量流量。
2、差壓式流量計(標準孔板)的使用條件、特點及適用范圍
a、使用條件:
1、在測量段,流體必須充滿圓管,并連續不斷地流經節流裝置;
2、流體在物理上和熱力學上必須是均勻的單相流體;
3、節流裝置所測得流體必須是穩定流,或可看作是穩定的緩慢變化的流體,不適用于脈動流和臨界的流量測量;
b、特點及適用范圍:
1、標準節流裝置無須實流標定即可保證其測量精度。(在所有流量計中是**的);
2、適用被測介質非常**,幾乎可用于所有氣體、蒸汽和液體的流量測量;
3、適用直徑比β為0.22~0.75,雷諾數ReD≥5000 管道直徑DN50~1000mm,允許外推到5000mm。β=d/D,d—孔板開孔直徑;D—管道實際內徑
4、使用壓力可高達32MPa,也可用于負壓;
5、介質溫度范圍:-30℃~+650℃;
6、智能型差壓式流量計采用智能差壓變送器,可根據被測對象流量的變化,通過按鍵或通訊方式現場設定差壓值(規定范圍內),從而改變流量范圍,使系統流量范圍度大大拓寬;
7、無可動部件,機構安全可靠,使用、操作簡單、易掌握,免維修;
根據中華人民共和國國家標準GB/T2624-93 和國際標準ISO5167-1 規定,節流裝置適用的流量量程比為3(即*大與*小適用流量之比),在個別情況下允許量程比為4,如果量程比大于上述值,則在使用同一臺差壓計時在小流量時的測量誤差很大。
二、分類
①按法蘭夾裝方式分類
1、焊接式 2、法蘭夾裝式
②按取壓方式分類
1、角接鉆孔取壓; 2、角接環室取壓 3、法蘭取壓; 4、徑距取壓;
三、結構及簡圖
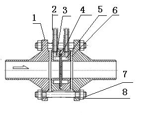
① 圖 1標準環室孔板節流裝置結構圖
1、法蘭 2、導壓管 3、前環室 4、節流件 5、后環室 6、密封墊片 7、螺栓 8、螺母
②圖2各種標準孔板結構圖
產品選型
1、選型表
| 型號 | 型譜說明 | ||||||||
| TT | 企標 | ||||||||
| LG | 流量節流裝置 | ||||||||
| 代號 | 取壓方式 | ||||||||
| H | 角接環室取壓 | ||||||||
| Z | 角接鉆孔取壓 | ||||||||
| F | 法蘭取壓 | ||||||||
| J | 徑距取壓 | ||||||||
| 代號 | 節流裝置說明 | ||||||||
| K | 標準孔板 | ||||||||
| 代號 | 公稱壓力 | ||||||||
| -0.6 | 0.6 | ||||||||
| -1 | 1 | ||||||||
| -1.6 | 1.6 | ||||||||
| -2.5 | 2.5 | ||||||||
| 代號 | 公稱口徑 | ||||||||
| DN10 | DN10~DN50(螺紋、法蘭) | ||||||||
| DN50 | DN50~DN800(法蘭) | ||||||||
| 代號 | 法蘭材質 | ||||||||
| C | 碳鋼 | ||||||||
| P | 不銹鋼 | ||||||||
| H | 合金鋼 | ||||||||
| 代號 | 介質 | ||||||||
| 1 | 液體 | ||||||||
| 2 | 氣體 | ||||||||
| 3 | 蒸汽 | ||||||||
| 代號 | 附件 | ||||||||
| N | 不含附件 | ||||||||
| F | 配三閥組等 | ||||||||
| I | 配含F及變送器(附件根據介質、要求選配) | ||||||||
| DC | 配含F及多參量變送器 | ||||||||
| O | 用戶指定配置附件 | ||||||||
2、安裝技巧
1、核準參數:安裝前務必先核準現場工況條件,確認節流裝置計算書的所有參數與安裝點工況條件參數完全相同后,才可進行安裝,否則必須進行必要的修正或補償。
2、方向:節流裝置的孔板提柄上或法蘭外圓面上分別有“+”、“-”號,“+“為上游側(迎著流體過來的方向),不得裝反。
3、插入深度:環室取壓孔板,插入深度為管道與環室之間距離為2~5mm,但不能將管道頂到環室,否則管道受熱膨脹便會頂壞環室。鉆孔取壓孔板,突入孔板內的管道,任何一點不得擋住取壓孔。
4、系統吹掃:節流裝置安裝完畢既應吹掃,此時應先將節流件(孔板片)拆下,以免管道內雜物刮傷孔板片或堵塞引壓管,待吹掃完成后再裝好,方向為流體流動方向與孔板上的箭頭同向。注意擰緊以保證密封。
5、調零:吹掃安裝完成后,將三閥組中間閥開啟,此時差壓值應為零,如果不是,就必須要歸零,方法是按住左下角按鍵不動20秒鐘,松開后即可。
6、*后將三閥組中間閥慢慢關閉(必須關嚴),正負引壓管上部的截止閥全部開啟,孔板即可正常工作。
7、安裝同軸度要求:節流件與管道必須同心,偏心距離不大于0.0025D,用戶在焊接操作時應予注意或采取必要的措施。
8、孔板一般都要配合差壓變送器使用,導壓管與差壓變送器連接時要注意正負壓不要裝反,“H”為正,“L”為負;
9、正負取壓口引出的導壓管在任何情況下都要保持平行;
10、如必須裝調節閥,則建議*好把調節閥裝在下游計算書上要求的直管段長度之后。
11、被測介質為氣體或蒸汽且溫度和(或)壓力有較大波動時,應進行溫度和(或)壓力補償。壓力變送器裝設在上游1D處,熱電偶裝設在下游1D處。
12、在差壓訊號管線上不得有可能積留液體或氣體的袋形空間,如不能避免時,應裝設集氣器(或排氣閥)和沉降器(或疏水器)。
13、變送器零點漂移也會引起測量誤差,使用過程中應定期對差壓變送器進行校準。
14、除須經常對導壓管進行檢查,以防堵塞外,對室外的導壓管應予適當保溫,以防凝固或凍結。如管線(垂直段)相當長,應避免由于溫差導致的虛假壓差,此時建議把兩根差壓管線靠近敷設并一起包在保溫層內。
15、差壓管線應有支架,以避免振動和有力作用在差壓計上。
16、節流裝置現場吊裝時,嚴禁用鐵絲、鋼絲、吊鉤穿入節流件喉部孔徑,以防止銳口損傷,影響精度;
17、節流裝置使用一段時間后,由于液體中有固體顆粒,氣體中有液體小滴或其它雜質,尖銳的入口將被磨鈍,從而使流出系數增大,造成附加誤差,此時應考慮調換節流件;另外,節流裝置長期使用后,在孔板上游側下角容易堆積污物,這會使流出系數變化,因此要定期檢查,排除污物。
18、導壓管:導壓管的材質應按被測介質的性質和參數而定,其內徑過小和長度太長會使信號嚴重滯后或失真,建議參照表(1)確定。
表(1) 
傳真:0517-86842019
QQ:65283268
郵箱:tengtaiyibiao@126.com
地址:淮安市金湖縣金北街道辦陳橋工業集中區4-4號 ?





